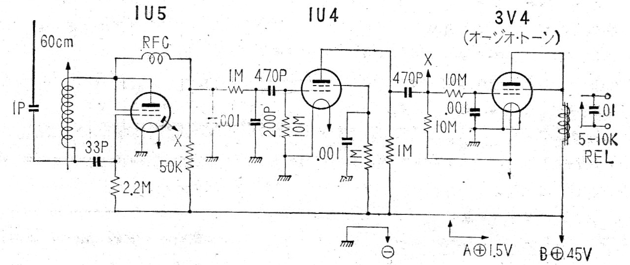
Encontramos este circuito en una publicación japonesa de 1962. Utiliza válvulas de filamento de 2,5 V alimentadas por pilas y alta tensión proveniente de una batería de 45 V, común en la época. Las válvulas ya no se fabrican.
Encontramos este circuito en una publicación japonesa de 1962. Utiliza válvulas de filamento de 2,5 V alimentadas por pilas y alta tensión proveniente de una batería de 45 V, común en la época. Las válvulas ya no se fabrican.