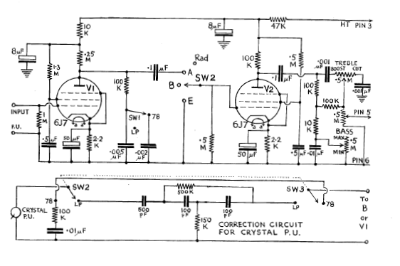
Este circuito es de una publicación de 1952. Se compone de un preamplificador con ecualización para tocadiscos que utilizan fonocaptores de cristal. La fuente de alimentación no se muestra pero típicamente es de 250 V, en este tipo de aplicación.

Amplificador Corrector para Fonocaptor de Cristal



