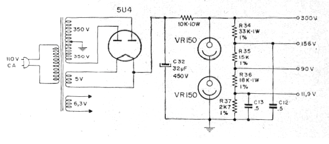
Encontramos el diagrama presentado en una publicación de 1966; Se trata de una fuente con varias tensiones, reguladas por dos válvulas reguladoras de tensión de gas del tipo VR150.
Estas válvulas son "zeners" antiguos, manteniendo una tensión fija de 150 V entre sus terminales. Dos de ellas en serie mantiene la tensión del circuito en 300 V.
Además de las válvulas el otro componente crítico del circuito es el transformador. Este transformador determinará básicamente la corriente de salida máxima así como la resistencia de 10 k de hilo. Observe que la tensión de secundario de alta tensión del transformador es de 250 + 250 V.




