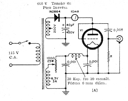
Este circuito, sugerido por una antigua publicación técnica, genera ruidos blancos a partir de una válvula triodo que puede ser una 6C4, la mitad de una 12AX7 o 12AU7.
El componente crítico, además de la válvula, es el transformador. En esta aplicación no se recomienda el uso de auto-transformador, pues el aislamiento debe ser mantenido.
El diodo puede ser el 1N4007 y los capacitores son de cerámica o poliéster. Para el electrolítico de la fuente la tensión de trabajo debe ser de por lo menos 450 V.
En la figura 1 el diagrama completo del generador cuyo ajuste del punto de funcionamiento se realiza en un potenciómetro de hilo.




