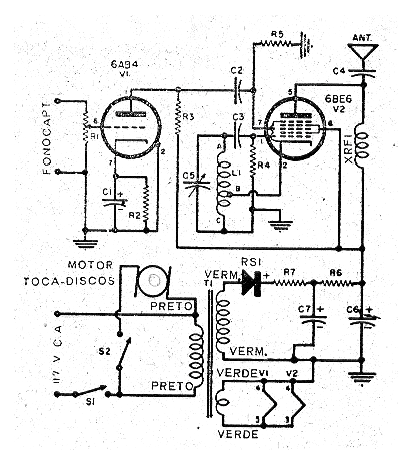
Este circuito transmite la señal de un fonocaptor de cristal a una radio de ondas medias a una distancia de hasta unos 100 metros. La antena es un pedazo de hilo común de 2 a 3 metros de largo.
El circuito utiliza dos válvulas y como en todos los circuitos de este tipo, además de las válvulas, el componente crítico es el transformador. Este transformador, sin embargo, puede ser alterado por una de las fuentes posibles que describimos en el artículo Fuentes para Aparatos Valvulados.
Las válvulas son la 6AB4 que consiste en un preamplificador y la 6BE6 que funciona como osciladora, moduladora. La bobina L1 consiste en una bobina oscilante para la válvula 6BE6 o puede ser enrollada con 20 + 70 espiras de hilo 28 AWG en un tubo de 1 cm de diámetro.
El capacitor variable puede ser un padecer o aprovecharse de una radio valvulada de ondas medias.
Los demás componentes del circuito son:
R1 - 1 M ohms - pote
R2 - 270 ohms x 1 W
R3 - 100 k ohms x ½ W
R4 - 22 k ohms x 1/8 W
R5 - 10 M ohms x 1/8 W
R6 - 1k5 x ½ W
R7 - 27 ohms x 1 W
C1 - 10 uF x 25 V - electrolítico
C2 - 4,7 nF - cerámico
C3 - 47 pF - cerámico
C4 - 100 pF - cerámico
C5 - padder o variable
C6 - 40 uF x 150 V - electrolítico
C7 -22 uF x 150 - electrolítico
XRF1 - 250 uH
RS1 - 1N4007
T1 - 125 V X 15 mA y 6,3 V X 600 mA
En la figura 1 el diagrama completo del aparato.




