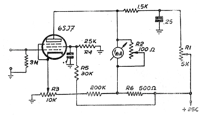
Un circuito muy importante en los años 60 era el voltímetro de la válvula, que aprovechando las características de alta impedancia de este dispositivo posibilitaba medidas precisas con instrumentos analógicos comunes.
El circuito presentado utiliza una válvula 6SJ7 con alimentación de 250 V y como instrumento indicador un miliamperímetro de 1 mA de fondo de escala.
La escala es determinada por los ajustes posibilitando así la medida de tensiones con una impedancia de entrada de varios megohms.
En el circuito no aparece la fuente de alimentación que también debe proveer para alimentar el filamento de la válvula. En el artículo Fuentes Para Aparatos Valvulados como alimentar este circuito.
En la figura 1 tenemos el diagrama del voltímetro.




