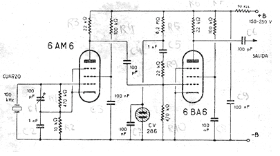
El circuito que presentamos a continuación, obtenido de una vieja publicación de los años 60, consiste en un oscilador de referencia que genera una frecuencia de 100 kHz dada por un cristal.
Se utilizan dos válvulas pentodo y se deben alimentar con una tensión de 250 V de una fuente externa. Esta fuente también debe proporcionar las tensiones de filamento para las válvulas.
El circuito genera una señal senoidal de excelente calidad y existe una lámpara neta indicadora de funcionamiento y también estabilizadora para el circuito.
La pinza de las válvulas debe obtenerse en uno de los manuales que disponemos para descargar en la sección de válvulas. En ella también tenemos sugerencias de fuentes para alimentar este circuito.
En la figura 1 el diagrama completo del oscilador.




