Un "squelch" o silenciador es un circuito que hace que la señal del amplificador sea cortado cuando no hay alguien hablando, o sea, evita aquel chido que ocurre en los altavoces cuando no hay nadie hablando, en la recepción del mensaje. El circuito mostrado en este artículo hace esto.
Los silenciadores se conectan entre el detector y el control de volumen de un receptor de comunicaciones. El ajuste del punto en que debe actuar, es decir, el nivel de señal entre umbral del ruido y la voz de la persona que habla en la señal recibida .
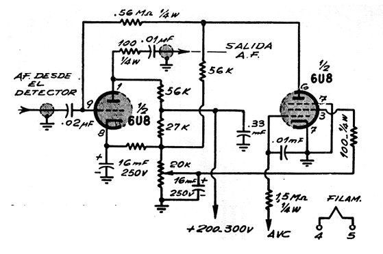
El circuito hace uso de una válvula doble, una 6U8 que consiste en un triodo-pentodo. La alimentación es sacada del propio receptor, siendo hecha con tensiones entre 200 y 300 V.
Los componentes usados son comunes, excepto la válvula y no hay transformador, pues la alimentación viene del propio aparato con el que debe funcionar, bajo régimen de baja corriente.
El diagrama completo del silenciador se muestra en la figura 1.




