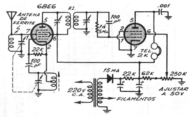
Es un interesante receptor experimental que tanto puede ser utilizado para recibir señales de ondas medias como señales de ondas cortas. El transductor es un auricular magnético con 2 k ohms de impedancia.
Este receptor experimental valvulado recibe las estaciones de ondas medias cuando enrollamos 100 espiras de hilo esmaltado 26 a 30 en un bastón de ferrita de 10 cm de longitud. La bobina osciladora puede ser retirada de una antigua radio valvular o formada por 40 + 40 espiras de hilo 28 en un tubo de cartón de 1,5 cm de diámetro.
Reduciendo las espiras de las dos bobinas se puede transformar el receptor en una unidad capaz de sintonizar ondas cortas.
Para el auricular se puede utilizar un transformador de 2 k de impedancia de primario y alimentar con ello un auricular de MP3 u otro aparato de sonido moderno que es de baja impedancia.
La antena puede ser un pedazo de hilo estirado de 2 a 40 metros y para ondas cortas será interesante utilizar una antena externa. La bobina de FI puede ser aprovechada de un antiguo receptor valvulado.
El capacitor variable doble también es del tipo encontrado en radios valvulados antiguos pudiendo ser obtenido en chatarra. En la figura 1 el diagrama completo del receptor.
La válvula sin indicación de salida de audio es una 6AU6.




