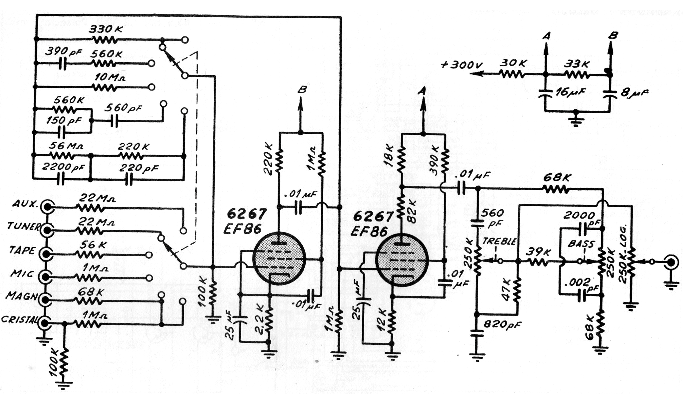
El circuito presentado es tradicional en los equipos valvulados de alta fidelidad a partir de los años 50. Se trata de un preamplificador y ecualizador con diversos tipos de entrada según las fuentes de señal. Para cada fuente de señal, se selecciona la ecualización apropiada.
Las válvulas son pentodos de alto ganancia del tipo 6267 o EF86 y la alimentación debe realizarse con una fuente de 300 V con al menos 20 mA de corriente.
La tensión de salida del circuito para excitar un amplificador típicamente de 10 W es de 40 mV, ajustada en un pote. Para 20 V se ajusta la tensión en 250 mV. La sensibilidad varía según las entradas:
a) Cristal: 78 rpm = 150 mV
b) Lonplay = 50 mV
c) Micrófono = 6 mV
d) Fono magnético = 9 mV a 6 mV
e) Cinta = 3 mV
f) Sintonizador (sintonizador) = 250 V
El circuito también tiene control de graves y agudos.
En la figura 1 tenemos el diagrama completo de este preamplificador, recordando que los componentes usados ??deben ser compatibles con las altas tensiones usadas en la alimentación.
Recordemos que el diseño de este circuito debe ser cuidadosamente estudiado para que no ocurran roncos, ya que las señales son de muy baja intensidad y el circuito es de alta impedancia.




