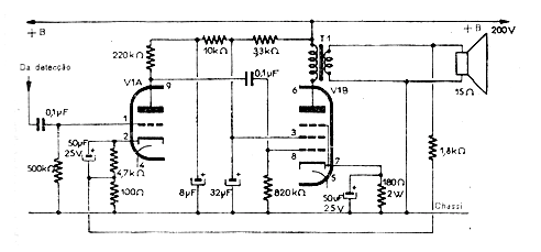
El circuito presentado consiste en un amplificador de pocos watts que utiliza una sola válvula doble. Este circuito puede ser utilizado como etapa de salida de radios, en intercomunicadores y en otras aplicaciones. La alimentación se realiza con una fuente de 200 V (véase el artículo sobre las fuentes para los aparatos de valvulados).
La impedancia de salida del transformador, pudiendo ser diferente del valor indicado. El primario del transformador de salida tiene entre 2k y 5k y los capacitores electrolíticos tienen las tensiones mínimas de trabajo indicadas en el diagrama. El circuito no incluye el control de volumen, pero puede ser un potenciómetro de 1 M.
La tensión de alimentación viene de fuente externa y para la entrada debe ser utilizado cable blindado para que no ocurra la captación de ronquidos. La válvula es la PCL86.
Este paso de audio se encuentra en la salida de muchos televisores de la década de los 60.
En la figura 1 tenemos el diagrama completo de esta etapa de amplificación de audio.




