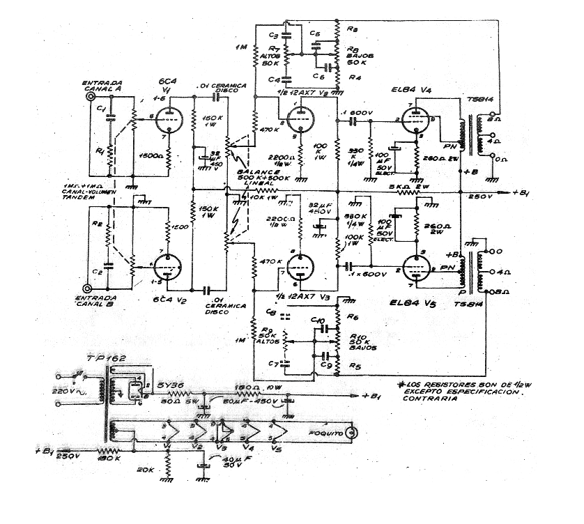
El amplificador presentado es un poco diferente de los demás porque no utiliza salida en push-pull. Su salida en clase B utiliza sólo una válvula EL84 en cada canal, pero aún así proporciona excelente calidad de sonido con buena potencia, aproximadamente 12 W.
El circuito utiliza tres válvulas en cada canal y una rectificadora de onda completa.
Además de las válvulas, los componentes críticos de este circuito son los transformadores. En particular, los transformadores de salida deben ser de tipo para salida simple y no en push-pull.
El circuito cuenta con control de volumen doble y aún un control de balance entre los canales. Una red de control de tono en cada canal también posibilita esta función en el amplificador.
Los componentes, principalmente los capacitores, deben tener tensiones de trabajo compatibles con este tipo de aplicación. En la figura 1 tenemos el circuito completo del amplificador.




