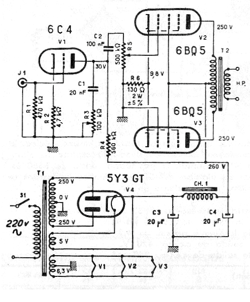
A continuación describimos a continuación un tradicional amplificador valvulado usando la 6BQ5 (EL84) en la salida, siendo capaz de proporcionar sonido de excelente calidad cuando se utiliza un transformador ultra-lineal.
La salida es en push-pull debiendo ser usado un transformador apropiado, del tipo ultra-lineal.
La fuente utiliza la válvula rectificadora 5Y3-GT y el transformador debe tener una corriente de secundario de alta tensión de al menos 200 mA. La excitación es hecha por un triodo 6C4, que garantiza excelente sensibilidad al circuito y elevada impedancia de entrada.
El circuito debe tener un diseño de chasis apropiado para evitar la captación de zumbidos y los componentes de alta tensión, principalmente C3 y C4 deben ser especificados para tensiones compatibles. C3 y C4 son electrolíticos para 400 V o más.
En la figura 1 tenemos el diagrama completo del amplificador.




