Los defectos se analizan en función del síntoma, es decir, en función de lo que sucede con el televisor como, por ejemplo, falta de imagen, falta de sonido, la imagen corre, etc.
Nota: Este artículo es de un libro de 1986, época en que sólo había televisores analógicos con cinescopios. Así, los siguientes procedimientos de datos sólo son válidos para este tipo de aparato. Son importantes si el lector pretende recuperar un viejo televisor de este tipo, para usarlo con viejas videocintas o cámaras de la época.
a) La pantalla se oscurece con sólo un trazado horizontal (figura 1)

Con los síntomas indicados debemos verificar la presencia del signo de Sincronismo vertical y también la operación del oscilador vertical y salida vertical.
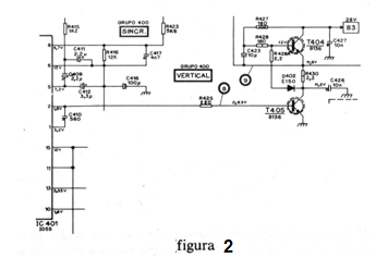
En la figura 2 tenemos el circuito del televisor tomado como base, mostrando sólo la etapa sospechosa.

En primer lugar se debe verificar la presencia de la señal de sincronismo en el punto 8 del circuito. Una tensión del orden de 0,6 V indica que el tran51stor T405 está en buen estado. En su colector la tensión debe ser de 11,2V. Una tensión anormalmente baja indica que este transistor tiene problemas.
También debe verificarse el transistor T404, midiendo la tensión en su emisor que debe ser de 11,6 volts y en el colector que debe ser de 28 V. Tensiones anormales indican que este transistor se presenta con problemas. El diodo D402, el resistor R428 y el capacitor electrolítico C423 también deben ser verificados.
El capacitor C431 es otro componente importante en el circuito de deflexión. Si la señal no está presente ya en las bases de los dos transistores, entonces el problema puede ser más grave con la necesidad de cambio del integrado IC401. No deje de verificar la continuidad de la bobina deflectora vertical así como el estado de los componentes asociados.
Si el lector ya dispone de un osciloscopio debe observar la forma de onda del sincronismo vertical en la base T405 que es una señal como muestra la figura 3.

La ausencia de tensión en todos los puntos de la etapa debe llevar al técnico a analizar el sector de la fuente que alimenta esta parte del aparato.
Los transistores T404 y T405 de salida vertical normalmente trabajan en condiciones de potencia, lo que significa que es muy importante que estén montados en disipadores de buena capacidad.
El sobrecalentamiento de uno de estos transistores es normalmente causa del defecto presentado. En el cambio por otro del mismo tipo que se haya quemado, a veces puede ser necesario utilizar tipos que soporten mayor tensión que el original por medida de precaución. Esto evita que ocurra la quema en poco tiempo después de la reparación.
Otro buen procedimiento recomendado en este tipo de reparación y el cambio de los dos transistores aunque se constate que sólo uno ha quemado, porque, en el instante en que ocurre el problema con uno, el otro puede sufrir una pequeña sobrecarga, insuficiente para dañarlo. pero suficiente para alterar sus características predisponiéndolo a la quema. Se cambia uno y el otro que estaba bueno se quema volviendo el defecto.



