Los aparatos de sonido domésticos y también los de automóviles son ampliamente difundidos en todo el país y no raramente presentan problemas que exigen la presencia de un técnico competente.
Este artículo es de una publicación nuestra de 1986, sin embargo es todavía actual por las técnicas que enseña. Se trata de un artículo de utilidad para quien desea reparar o recuperar equipos de la época. Los artículos que siguen este e incluso algunos anteriores proporcionan técnicas de la misma época para la reparación de estos equipos.
Y claro que existen defectos que exigen también el uso de instrumentos propios y técnicas especiales en la localización, pero también existen los problemas que pueden ser sanados con pocos recursos o incluso ninguno.
El técnico que domina las técnicas de reparación de equipos de sonido, específicamente los amplificadores y demás equipos de sonido, puede tener en ello una excelente fuente de ingresos.
Básicamente son los siguientes equipos de sonido que el lector podrá instalar y reparar:
- Aparatos 3 en 1
- Tocadiscos de autos
- Grabadoras de cassette
- Equipos de conjuntos musicales
- Amplificadores
- Sintonizadores
- Tape-decks
Básicamente, la técnica de búsqueda de defectos en este aparato no presenta mucha diferencia y los equipos de análisis exigidos son los mismos.
También en este caso, damos como instrumento básico para las pruebas el multímetro y además de él el inyector de señales o generador de audio, y también el seguidor de señales.
Si el lector puede, también hay disponible en su banco un amplificador pequeño (de 1 a 10 W) para hacer pruebas de transductores o incluso retirar señales de un equipo en análisis.
Otro recurso importante en la bancada y una fuente bien filtrada de 12 volts con capacidad de corriente de al menos 5 ampères para la prueba de radios y tocadiscos de coches.
En la figura 1 damos un circuito de fuente a la bancada que puede ser útil en el trabajo de verificación de problemas en equipos para autos.

El transformador tiene devanado de 12 V x 5 A y los diodos deben ser capaces de soportar 5 A.
El transistor 2N3055 debe montarse en un buen radiador de calor y el diodo zener es de 13 a 15 V con 400 mW de potencia.
Para el filtrado, el condensador electrolítico debe ser de al menos 2 200 uF, o 4 700 uF x 16V o más.
En el caso de que se produzca un aumento de la temperatura,
Reparación de amplificadores
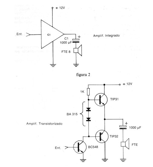
Los amplificadores para automóviles son básicamente de dos tipos: con transistores y con circuitos integrados en la salida.
En la figura 2 tenemos la diferencia de configuraciones para los dos casos.
Las bandas de potencia pueden variar entre 10 y 15 watts de hasta 100 watts.

Con respecto a los amplificadores potentes, por encima de 50 W, observamos que, en general, las especificaciones de los fabricantes no suelen ser reales. Si un amplificador requiere una corriente de 10 A de su coche con alimentación de 12 V, entonces su consumo de potencia es de 120 W.
Como el rendimiento de estos aparatos suele ser muy inferior al 100% (no se puede crear energía) la potencia real de un aparato de este tipo seguramente será inferior a 100 W. Por el consumo, podemos estar seguros de la potencia real suministrada por un amplificador.
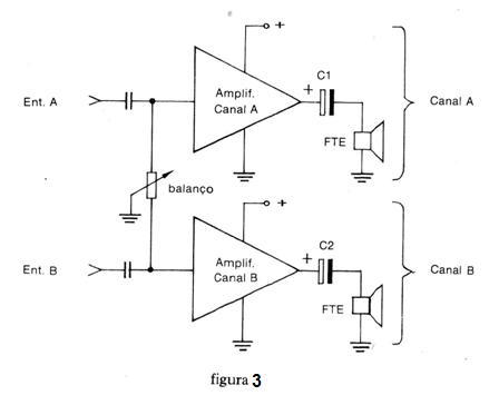
Para el caso de amplificadores con circuitos integrados, en la versión estéreo, tenemos dos canales independientes, como muestra la figura 3.

El procedimiento para la prueba consiste entonces en inyectar señales por separado, primero en una entrada y luego en la otra, observándose su reproducción.
Si un canal no funciona entonces en él concentraremos nuestro análisis. 1 1
Si ambos canales no funcionan, empezamos a comprobar las tensiones de alimentación. La ausencia de tensión de alimentación puede indicar que el fusible principal está quemado.
Para analizar un canal, inyectamos la señal en el control de volumen y verificamos si se produce la reproducción normal del sonido en el altavoz. Si el sonido es distorsionado o bajo en relación al otro canal, entonces verificamos si los componentes se presentan en orden. Los resortes con señales de estar quemados o condensadores malos pueden indicar que algo sucedió con el integrado. En este caso, debe ser reemplazado por uno de la misma marca y tipo.
La conexión del integrado se realiza de la siguiente manera:
Después de retirar el mal integrado, coloque el nuevo en la misma posición. Después, con cuidado, fíjelo en el radiador de calor observando que puede existir un aislador de plástico o mica entre ambos. Si desea mejorar la transferencia de calor pase en el integrado y en el radiador un poco de pasta térmica (figura 4)

Otro problema que puede ser constatado con amplificadores y el "rasguño" de los potenciómetros de volumen. En este caso, deben ser limpiados con buen solvente o bien intercambiados por otro de igual valor.
Para los amplificadores que usan transistores, la configuración más común es la que se muestra en la figura 5.

En esta configuración se utilizan transistores complementarios, es decir, un PNP y un NPN, de potencia montados en buenos radiadores de calor, normalmente en la parte posterior del aparato.
En un caso de problema con este tipo de amplificador, uno de los transistores o los dos transistores pueden quemarse.
Si uno de los transistores sólo se queman, el amplificador todavía funciona pero con un volumen reducido y una fuerte distorsión. Si los dos se queman, el canal queda mudo.
Para el análisis, también debemos inyectar la señal en la entrada del amplificador para verificar la reproducción.
La prueba del transistor se puede hacer directamente con el multímetro, midiendo las resistencias entre sus terminales, como muestra la figura 6.

Una resistencia anormalmente baja o anormalmente, alta en uno de los puntos puede indicar un transistor en corto o un transistor abierto.
Otra medida importante es la de la tensión en la unión de los emisores de los dos transistores de salida, como muestra la figura 7.

En el punto indicado debemos tener aproximadamente la mitad de la tensión de la fuente de alimentación. En un amplificador de coche, donde la alimentación es típicamente de 12 V, la tensión en el punto indicado será de aproximadamente 6 V.
Una tensión anormalmente baja puede indicar que el transistor PNP está mal, mientras que una tensión anormalmente alta puede indicar que es el NPN que está en mal estado.
También debemos comprobar los diodos reguladores y los resistores de emisor.
Los resistores pueden quemarse cuando los dos transistores o uno de los transistores y el condensador electrolítico presentan problemas. Esto puede ser constatado visualmente.
La prueba del condensador es simple y se puede hacer con la ayuda del multímetro en las escalas apropiadas de resistencias.
Tenemos finalmente el caso del transistor conductor, que al quemar cambia la polarización de los transistores de salida llevándolos a un comportamiento anormal. En este caso, sin embargo, la inyección de señal en la entrada del amplificador no lleva a la salida.
Finalmente, el técnico debe también pensar en probar componentes secundarios de polarización y acoplamiento tales como condensadores y resistores.
El mejor procedimiento para análisis es la medida de tensiones en los puntos principales del circuito.
Sin embargo, para ello, será necesario conocer las tensiones que se encuentran en todos los puntos.
La inversión en la compra de un manual que posea el diagrama de los principales aparatos que se repare será ampliamente compensado por la facilidad en encontrar el defecto y la seguridad.
Todo técnico "debe tener manuales de esquemas de los principales aparatos con los que trabaja.
Por supuesto, no será posible comprar todos los manuales de aparatos de una sola vez. Por eso, lo ideal es pedir el manual correspondiente tan pronto como el aparato sea llevado al taller, dando así tiempo para su llegada por el correo, o buscar en las librerías de grandes ciudades cercanas.
Los mismos procedimientos son válidos en todos los tipos de amplificadores de audio cuyas potencias están en el rango de 1 a 200 W, pues en principio todos funcionan del mismo modo.



