Este sensor de humedad puede ser utilizado en experimentos en que se pretenda detectar la presencia de humedad o incluso de agua. Otra aplicación interesante es en la verificación del estado de los tejidos o de los papeles, si están perfectamente secos. El circuito es extremadamente sensible haciendo que el LED se encienda con resistencias de muchos megohms lo que significa un grado de humedad muy bajo en los objetos probados pero existentes. Newton C. Braga
Lea más:
El consumo de energía en la condición de espera (LED apagado) es tan bajo que omitimos el interruptor general, ya que no hay necesidad de apagar la fuente de alimentación en estas condiciones.
En la figura 1 tenemos el diagrama completo del sensor.

Los dos transistores conectados en acoplamiento Darlington garantizan una excelente sensibilidad.
Podemos utilizar cualquier transistor NPN de uso general, pero debemos tener cuidado para que ni uno de los dos transistores presente fugas, pues eso haría que el LED permanecía permanentemente encendido sin humedad presente en los sensores.
Con el aparato encendido y sin nada tocando en los sensores, el LED debe quedar apagado completamente, lo que es una señal de que todo está bien con los transistores y el resto del circuito.
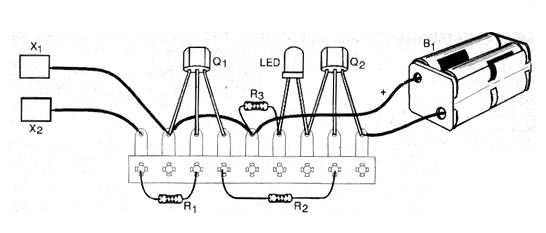
En la figura 2 tenemos la disposición de los componentes en un puente de terminales que puede instalarse fácilmente dentro de una caja plástica.

El LED es rojo común y se encuentra en el panel de la caja y se puede utilizar para fijar un soporte. Los resistores son de 1/8 W o mayores y los sensores pueden ser dos plaquitas de metal colocadas en el fondo de la caja, como muestra la figura 3.

Estas plaquetas deben entrar en contacto con el objeto del cual se desea probar la humedad.
Para utilizar el aparato para detectar el nivel de agua de un depósito o aún una fuga podemos usar sensores como se muestra en la figura 4.

La fuente de alimentación para el aparato consiste en 4 pilas pequeñas comunes, instaladas en un soporte apropiado.
Para utilizar el aparato basta con colocarlo en el objeto del cual se desea verificar la humedad.
El objeto no debe ser conductor. Si el LED encender el objeto está húmedo y la mayor humedad es el brillo del LED.
Si colocamos los sensores en una pared, por ejemplo, podemos tener la indicación de que la humedad detectada es causada por alguna fuga de una canalización de agua o desagüe.
Cuando no se utiliza por largos intervalos, es conveniente sacar las pilas del soporte.
QUÉ EXPLICAR
El agua que contiene sales minerales o impurezas disueltas es conductora de electricidad. Así, la humedad presente en ciertos objetos los hace conductores.
Esta conductividad es detectada por el aparato que describimos.
Los profesores y los estudiantes pueden basarse en este hecho para explicar el principio de funcionamiento del aparato y, además:
* Demuestre químicamente porque la humedad de los objetos sumados a la presencia de impurezas (suciedad) hace que el agua sea conductora y que el aparato detecta justamente esta conductividad.
* Muestre que colocando los dedos en el sensor el LED se enciende, indicando que la humedad de la piel más la presencia de sustancias conductoras en nuestro cuerpo hacen que la corriente sea conducida.
* Explique que la corriente en el sensor es extremadamente baja y por lo tanto no hay peligro de choque.
Nota: sustituyendo los sensores por dos puntas de prueba tendremos un excelente probador de continuidad que sirve para innumerables experiencias de física.
LISTA DE MATERIAL
Q1, Q2 - BC548 o equivalente - transistores NPN de uso general
LED - LED rojo o de cualquier color común
X1, X2 - sensores - ver texto
R1 - 100 k ohms x 1/4 W - resistor - marrón, negro, amarillo
R2 - 100 ohms x 1/4 W - resistor - marrón, negro, marrón
R3 - 330 ohms x 1/4 W - resistor - naranja, naranja, marrón
B1 - 6 V - 4 pilas pequeñas comunes
Varios:
Soporte de pilas, puente de terminales, soporte para el LED (opcional), caja para montaje, hilos, soldadura, etc.



